10 GB de RAM en un smartphone puede sonar como una locura. De hecho, en cuanto a computadores, el estándar es 8 GB de RAM. Aunque quien necesita más poder opta por 16 GB...
Eso no es todo. ¡Hay más para tí!
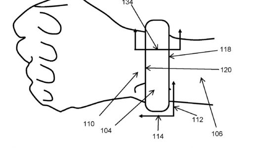
Las patentes no significan los planes inmediatos de las empresas de tecnología. Pero sí muestran hacia dónde podrían estar yendo sus planes. Hace dos años, Apple...
Disfruta tus caminatas con estos zapatos | Sitios Web Colombianos
La ropa que usas dice mucho de ti y de tu personalidad; por supuesto los zapatos hacen parte de ella. Gracias a la trayectoria de nuestro país en la producción...
Aunque EA no hace parte oficial de E3, eso no quiere decir que se pierda de la fiesta de videojuegos que se celebra desde el sábado 9 de junio y que, de hecho, el...
La exhibición interactiva ‘Caras de Frida’ posee más de 800 pinturas, objetos y fotografías de Frida Kahlo y la tienes a un clic de distancia. Gracias a la...
El año pasado publicamos en nuestro portal un artículo titulado: ‘Sony, el gigante sin chispa de E3’. La razón es que pese a las altas expectativas, fueron pocas las...
Hasta el 15 de junio estarán abiertas las inscripciones para el Visa Everywhere Initiative, el cual premiará a 12 emprendimientos que podrán viajar a Miami para...
Estas tiendas tienen lo que tu bebé necesita | Sitios Web Colombianos
En muchas ocasiones, especialmente cuando somos mamás primerizas, salir de compras con nuestro bebé es difícil. Esto se debe a los horarios de siesta y las cosas que se...
HughesNet, compañía de soluciones satelitales, llegó a Colombia con Internet satelital de alta velocidad en el 2017. Su primer despliegue estaba concentrado en las zonas...
Hoy los niños del Colegio San Francisco de Asís (en el barrio El Vergel) se conectaron por una hora con una aula de clases en Olsztyn, Polonia. Los estudiantes hicieron...
Tuatu.co: el consejero virtual de la moda | Sitios Web Colombianos
Tuatu es una plataforma virtual que funciona como un consultorio de moda, estilo y buen vivir dirigido a la mujer latina. Este negocio nace del deseo de Juan Carlos...
Bethesda siempre se ha caracterizado por cerrar con broche de oro el sábado de E3. Aunque su presentación no tiene el nivel de un show como el de Sony, el desarrollador...
¡Los rumores son ciertos! Nuestra abogada favorita de Harvard regresa a la pantalla grande después de 15 años con ‘Legalmente rubia 3’. Reese Whiterspoon...
A mediados de mayo se lanzó la segunda temporada de la serie ’13 reasons why’. Este fenómeno global ha recibido las criticas de varios padres por ser una...
Instagram tiene algo seguro y es que para sobrevivir necesita cambiar y transformarse para mantener a sus usuarios felices. En los últimos meses, la red social ha...
¿Sabías que Samsung Health es una aplicación que no solo sirve para hacer seguimiento al ejercicio? Esta aplicación es una plataforma que te ayudará a mantener un...
Ha sido la amistad de toda una vida. Aquellos comprometidos con la historia de Dreamworks, han visto la relación entre Hipo y Chimuelo crecer. Ahora, después de dos...
6 sitios para comprar ropa de baño en línea | Sitios Web Colombianos
Aquellos que vivimos en esas ciudades que parecen estar en perpetuo estado de invierno sabemos apreciar una salida a tierra caliente. En estos casos el plan de piscina y...
Este año el E3, Xbox no anunciará ningún elemento de hardware, pero hay altas expectativas con los videojuegos que se rumora podrán presentar durante la feria para...
La marca BlackBerry no se rinde y sigue apostando por los smartphones con teclado físico. La característica que fuera la norma hace casi 10 años, en la actualidad tan...
Google llevaría a cabo el proyecto Maven (que usa inteligencia artificial para distinguir personas y objetos en videos de drones) para el Pentágono, EE. UU. Sin...
Kalley es una marca colombiana con 15 años de experiencia en electrodomésticos. Es probable que la conozcas por sus televisores, por ejemplo. Recientemente la compañía...
A pocos días para E3 2018, muchos gamers están alerta a todos los posibles títulos por anunciar. Sin embargo, hay algunos nombres que ya conocemos aquellos que...
Calzado y productos en cuero a un clic | Sitios web colombianos
Los productos en cuero son bastante reconocidos en Colombia. El país, de hecho, es reconocido entre la región por la calidad en este tipo de artículos. Además, el diseño...
Desde que salió la película de ‘Escuadrón Suicida’ existen rumores de un nuevo filme sobre los orígenes de Joker, otras voces hablaban de una película de...
Compra ropa sin salir de tu casa | Sitios Web Colombianos
Cuando se trata de buscar ropa para tu familia, hay cientos de lugares para comprarla. Sin embargo, muchas personas prefieren en algunas ocasiones evitar almacenes...
Motorola presentó su nuevo Moto Z3 Play. Esta es la tercera versión de uno de los smartphones modulares de la compañía. De esta manera, es el sucesor del Moto Z2 Play y...
A partir de este mes, verás un aumento en las tarifas de los servicios que adquieres por Internet. Pues todas las plataformas, sin importar su país de origen o de...
Una de las cosas más interesantes de los cómics es que no hay una sola versión de cada héroe. Hace muchos años, para solucionar el problema de continuidad en sus...
Mantener a tu empresa protegida puede ser un verdadero desafío, sobre todo si tienes en cuenta los avances de la tecnología y ciberataques que a diario amenazan tu...