Apple pide patente para un marco de tableta sensible a la presión

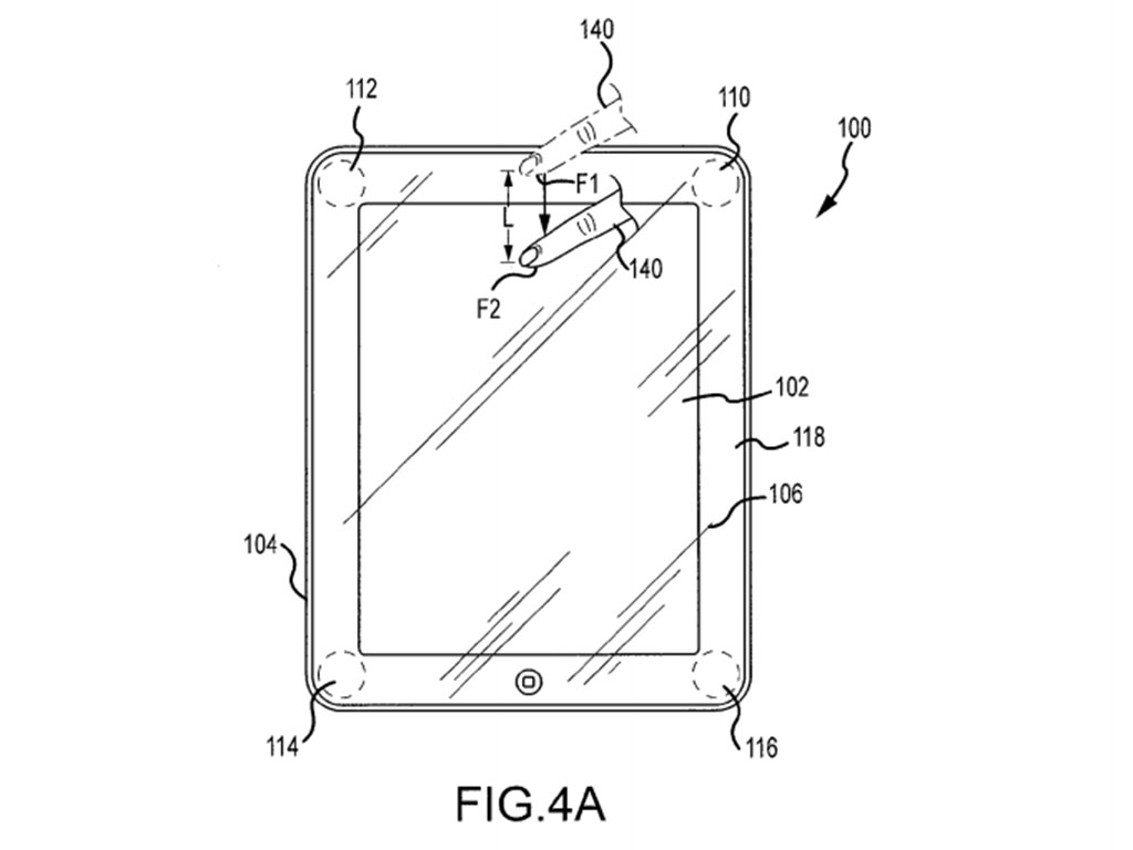
ay gestos 'fuera de pantalla' que a veces no se leen. Imagen: USPTO

La oficina de patentes de Estados Unidos publicó una solicitud de patente de Apple para “detección de señal por toque y gestos utilizando sensibilidad de fuerza”, que en cristiano es una pantalla con sensibilidad de presión. Apple Insider cuenta que en los dispositivos móviles pondrán sensores de presión en las esquinas y otras áreas del display como un segundo modo de darle instrucciones al dispositivo.

Las pantallas táctiles actuales cuentan con sensores que permiten identificar varios dedos, así como rechazar puntos de contacto grandes como las palmas. Sin embargo algunos gestos se hacen de manera rápida y no son leídos, y también hay toques involuntarios sobre la pantalla que activan comandos sin querer.

Esta es la estructura de la pantalla. Imagen: USPTO
Esta es la estructura de la pantalla. Imagen: USPTO

Una pantalla con sensores de presión permiten detectar de manera más acertada los gestos que hace el usuario en su dispositivo. Los sensores de presión pueden filtrar los toques involuntarios y pueden determinar si el gesto comienza desde afuera de la pantalla (lo que muchas veces hace que el dispositivo no entienda que uno está llamando un menú desplegable). Así mismo, hay personas con dedos largos que, al agarrar sus teléfonos o tabletas, dejan alguno de sus dedos sobre un extremo de la pantalla, y al navegar en la pantalla con el pulgar o con la otra mano el celular puede asumir que el usuario está intentando rotar o ampliar la imagen. En ese caso, el sensor de presión ayudaría que la navegación sea mucho más acertada.

ay gestos 'fuera de pantalla' que a veces no se leen. Imagen: USPTO
ay gestos ‘fuera de pantalla’ que a veces no se leen. Imagen: USPTO

Los sensores de presión no van a funcionar para hacer gestos adicionales, y parece que solo son una forma de filtrar y entender mejor los movimientos de la persona sobre la pantalla.

Toca esperar el dispositivo con el que se implementará esta patente, pero las mejoras de navegación que propone parecen muy interesantes de conocer. ¿Qué opinan sobre esta adición?

Sergio Fabara

"La curiosidad mató al gato" es el refrán más hermoso que existe, aquel gato murió buscando algo por lo que vivir. Y así mismo, probablemente moriré en la búsqueda de saciar mi curiosidad con el mundo. Me gusta mucho el cine asiático, los romances de Wong Kar-Wai, y los monstruosos personajes de Takashi Miike. Me encanta pokemon y megaman, y debo decir que la influencia que tengo por parte de los videojuegos y el anime han influenciado mucho como veo la fotografía y el cine. Y ahora entro aquí a ENTER.CO, buscando conocer nueva información sobre este mundo, y escribirla en imágenes. Me gusta el chocolate blanco.

View all posts

Archivos