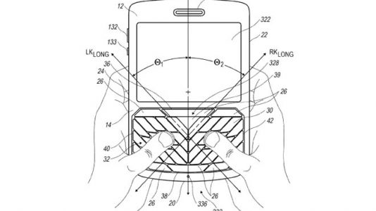
El fabricante de BlackBerry obtuvo la patente por un nuevo diseño de teclado que promete ofrecerle al usuario mayor comodidad y precisión para los teclados físicos de...
Eso no es todo. ¡Hay más para tí!
Un carro que flota y que se puede manejar en cualquier lugar fue uno de los prototipos seleccionados por Volkswagen en un concurso para diseñar el 'automóvil del pueblo'...
Un listado de 55.000 cuentas y contraseñas de Twitter fue publicado en el sitio web Pastebin. La red de microblogging ha recomendado a los usuarios que teman estar...
Según informó Paco Ragageles, Campus Party está buscando nueva sede por falta de apoyo de la Alcaldía Mayor. Tras nuevas declaraciones de Campus Party, se conoció que...
Para quienes se sienten verdaderos artistas usando Instagram, podrían ganar dinero, si realmente sus imágenes son lo suficientemente atractivas como para pensar en...
Para considerase un jugador de verdad, es imperativo haber jugado el clásico juego de John Carmack y John Romero.
Finalmente pudimos pasar un buen rato con este aparato y entendimos de inmediato por qué es un objeto codiciado por los seguidores más puristas del sistema operativo de...
La empresa bogotana podrá comenzar a vender TV por suscripción luego de que se le aprobara la licencia para operar en Bogotá a una empresa que está a punto de ser...
Un nuevo grupo de hackers que se autodenomina 'The Unknowns' puso en aprietos a la NASA y a la Agencia Espacial Europea (ESA) luego de hackear sus sitios web y sus bases...
En una corte de Nueva York llegaron a la conclusión que "ver pornografía" no es un delito, siempre y cuando el acusado no descargue esa información. Según esa...
El corto, llamado Diablo 3: Wrath, lo escribió Chris Metzen y James Waugh, ambos empleados de Blizzard y fue dirigido por Peter Chung, de Aeon Flux y Animatrix.
Además de reparar los daños de la Nave Real de Naboo, R2-D2 está listo para preparar el café de sus fanáticos en las mañanas.
El anuncio se hace a pesar de la preocupación que tienen varias firmas americanas sobre el patrocinio del gobierno chino a atacantes cibernéticos.
Para evitar congestiones durante los Juegos Olímpicos, las autoridades de la capital británica lanzaron una aplicación llamada re:route, que les da premios a los...
Para muchas personas es un habito diario entrar a Facebook, ¿a qué?, ni idea, pero gastan horas ahí. Ahora, un reciente estudio de una universidad en Noruega reveló...
El vehículo autónomo de Google superó una nueva prueba luego de que las autoridades del estado de Nevada le dieron vía libre para ser probado en las calles del estado.
Después de que Dan Loeb, accionista de Yahoo! informara sobre las irregularidades existentes en el currículum de Scott Thompson, el presidente de la compañía decidió...
La directora de una escuela secundaria de Estados Unidos renunció a su cargo luego de ser acusada de espiar en Facebook para sus estudiantes. ¿Cuáles son los límites de...
Tras la captura en Chile de un administrador del popular sitio Cuevana.tv, hoy se resolvió el asunto. HBO perdió el caso y el administrador quedó absuelto de todos los...
En el primer trimestre de 2012, el nuevo iPad aumentó su participación de mercado en 16%, llegando a 68%, mientras que el Kindle Fire bajó 4%, terminando los primeros...
Google Play Store alcanzó más de 15.000 millones de descargas
La tienda de Google obtiene 1.000 millones de descargas mensuales y actualmente cuenta con 500.000 aplicaciones disponibles. Google Play está pisando los talones de la...
La guerra de los smartpones es cada vez más intensa, ahora la gente de BlackBerry hace frente directamente en las tiendas de Apple.
Cada vez que lanza una nueva versión de Mac OS, Apple acostumbra suspender el soporte de la versión que está dos lugares antes de la nueva. Si hiciera esto con Mountain...
El primer ministro británico quiere implementar una ley que permita bloquear contenidos pornográficos en Internet para proteger a los menores. Las personas que quieran...
Además de hacer películas y parques temáticos, entre otras cosas, Disney trabaja en diferentes proyectos de tecnología entre ellos el "Touche", que emplea el...
Google perdió el primer 'round' del juicio que enfrenta contra Oracle por copiar pequeñas partes de Java para desarollar Android. Pero el resultado del segundo round...
Sepa si usted fue uno de los 10 ganadores del concurso de ENTER.CO y Campus Party para conseguir entradas para el evento, que se realizará a finales de junio en Bogotá...
Según un reciente estudio de la firma App Promo, más de la mitad de aplicaciones no llegan a punto de equilibrio y el 80% de los desarrolladores no puede sostener su...
Con BlackBerry Screen Reader los usuarios de RIM podrán mantenerse conectados con las personas y con la información que más les interesa. La aplicación proporciona a los...
Google lanza servicio para emitir ‘Hangouts’ en directo por la Web
Hangouts on Air es un servicio que permite pasar de las videoconferencias entre grupos de hasta diez personas a transmisiones masivas en vivo desde Google+.