
Muchos usuarios son fieles devotos de los teclados físicos para los teléfonos móviles. Sin embargo, quienes tienen dedos gordos suelen tener problemas para acertar en la tecla precisa. En ocasiones, eso puede llevar a situaciones embarazosas, para no hablar de la frustración que puede sentir un usuario común cuando su teléfono no le responde como espera.
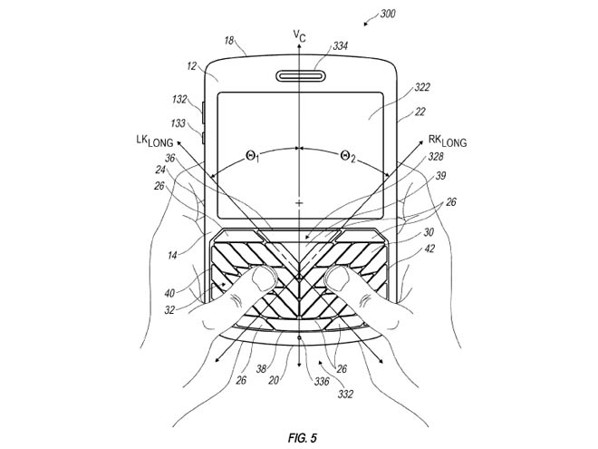
RIM logró patentar este miércoles para un nuevo teclado, diseñado con un patrón trapezoidal, que promete hacerles la vida más fácil a quienes tienen este problema. Según el documento de patente, este nuevo teclado ofrece teclas más grandes que el teclado tradicional, y su forma le permite acomodarse con mayor naturalidad al movimiento de la mano cuando se usan estos dispositivos, lo que hace posible que el usuario sea más preciso.
“Los dispositivos móviles de comunicación hoy están siendo diseñados con anchos más pequeños, lo que presenta un reto a la hora de diseñar un teclado que sea fácil de usar y tenga teclas suficientemente grandes para un usuario”, afirma el documento.
¿Se sentirían cómodos usando un teclado así? Queremos sus comentarios.
no es sólo que patenten, es que lo hagan y que el resultado muestre que sí valió la pena, y si es como en el dibujo de pronto no es muy práctico, pues imagino que la mayoría d epersonas usa una sóla mano mientras escribe
no es sólo que patenten, es que lo hagan y que el resultado muestre que sí valió la pena, y si es como en el dibujo de pronto no es muy práctico, pues imagino que la mayoría d epersonas usa una sóla mano mientras escribe
se quedara en diseño como las mil y una patentes del negocio?
se quedara en diseño como las mil y una patentes del negocio?
Jmmm nunca adquiri un BB porque asi fuera Bold, era muy complicado por mis manos grandes. Y RIM despues de mil años con las misma lamina, le da por fabricar telefonos con diseños para usuarios divergentes… tarde como siempre !. Ya existen telefonos tactiles con pantalllas de 3.7 pulgadas o mas, que suplen conpletamente esas necesidades.
Jmmm nunca adquiri un BB porque asi fuera Bold, era muy complicado por mis manos grandes. Y RIM despues de mil años con las misma lamina, le da por fabricar telefonos con diseños para usuarios divergentes… tarde como siempre !. Ya existen telefonos tactiles con pantalllas de 3.7 pulgadas o mas, que suplen conpletamente esas necesidades.
nada que ver si lo hacen dejaria de comprar productos de RIM
nada que ver si lo hacen dejaria de comprar productos de RIM