
Cada día es más evidente la necesidad de ofrecer un dispositivo móvil con una buena cámara para foto y video. Las imágenes son uno de los medios de registrar y comunicar más importante que tenemos los usuarios, y esta demanda se refleja en smartphones como el Lumia 1020 o el Samsung Galaxy S4 Zoom. Y Apple parece que no se quedará atrás en este mercado gracias a la última patente que recibió en Estados Unidos.
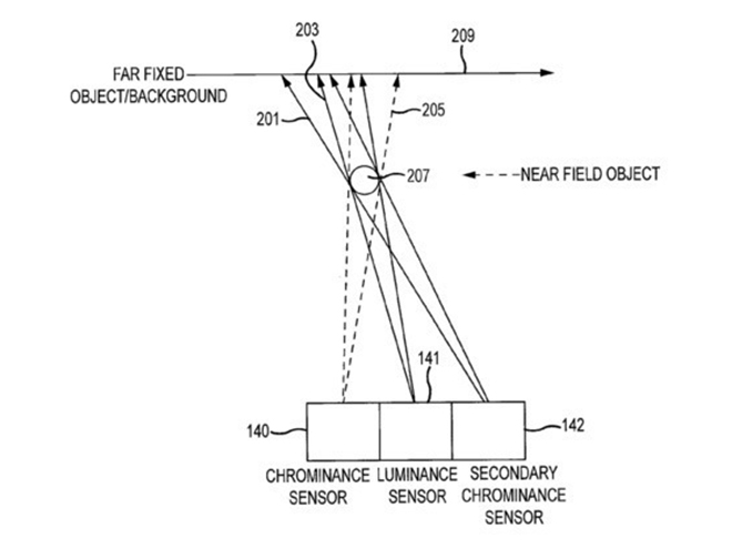
La empresa de la manzana obtuvo la patente por un sistema multisensor de captura de imágenes. El documento muestra un sistema de tres sensores divididos en dos categorías: un sensor de luminancia (de la luz que captura) y dos sensores cromáticos (para el color de la imagen). Este sistema es muy similar al de las cámaras de seguridad, que utilizan dos sensores de captura (uno térmico y otro de luminancia).
El sensor de luminancia, al ser dedicado, puede captar un rango de luz más amplio que uno sencillo. Los dos cromáticos –uno principal y otro secundario– se ubicarían a lado y lado del sensor de luminancia y se utilizarían para comparar la información captada por cada uno de ellos y tener un color más fiel de la escena. El uso de estos tres sensores permite que el resultado final sea una imagen de mayor tamaño, mejor nitidez y mejor fidelidad de color.
Además el sistema patentado por Apple utiliza tres lentes, uno para cada sensor. De esta manera, si uno de los dos sensores cromáticos es obstruido por un punto ciego de ángulo de visión o un mugre sobre la lente, un sensor puede compensar la información que el otro no puede captar. Apple incluyó este diagrama en la patente.

Probablemente este sistema no se verá en el siguiente iPhone o iPad, pero podremos esperar que para los siguientes modelos se implemente esta tecnología. ¿Por qué creen que los fabricantes están metiendo tanto empeño en las cámaras de los teléfonos? Esperamos sus comentarios.
y dele con las patentes
Ese es el resultado de la vigilancia tecnológica y el ejercicio creativo. No veo por qué la molestia.
Por esta Ves comparto su opinión, aPpLe esta en todo su Derecho de Proteger la Tecnología que Desarrolla, solicitar la Patente es lo mas lógico y Responsable.
Según el artículo, es una tecnología como la que existe en las cámaras de seguridad, crApple no desarrolló nada.
Seguro usted es un ingeniero lider de proyectos de R&D para saber que Apple hizo copy paste y ya, cierto? Me parten de la risa estos usuarios que se las dan de gurús, Eso es como comparar el tocino con un filet mignon y decir que son lo mismo porque vienen del cerdoy que el cocinero no hizo nada.
No, yo solo me basé en lo que dice el artículo.
Pero es que no sabes leer!!!!, tu fanatismo te lleva a atacar por que si, y no te tomas siquiera el tiempo de analizar lo que lees y escribes.
Si usted lo dice
No lo digo yo. Vuelva a leer mi comentario: «Según el artículo»…
el articulo dice “Este sistema es muy similar al de las cámaras
de seguridad, que
utilizan dos sensores de captura (uno térmico y otro de luminancia).”.
lo que se entiende es que una camara de seguridad emplea un sensor de
luminancia y otro termico. Lo que applie patenta es ” un
sistema de tres sensores divididos en dos categorías: un sensor de
luminancia (de la luz que captura) y dos sensores cromáticos (para el
color de la imagen)”. Si desea puede usar un software para comparar
texto, y darse cuenta de que no estan patentando algo ya inventado. Si alguien hace un desarrollo sobre una pantalla, esta haciendo algo nuevo, no tendria sentido decir “las pantallas ya existen” no desarrollaron nada.
Similar NO es igual, si ves las cámaras usan un sensor térmico y uno de luminancia. Apple patenta el uso de 3 sensores, una de luminancia y DOS cromáticos, no veo en que se te parecen DOS sensores cromáticos a UNO térmico.
Ah ya entiendo… entonces poner dos sensores cromáticos en lugar de uno es innovación… vea pues.
En que parte del articulo ves que las cámaras de seguridad usen UNO CROMÁTICO?, lo que yo leí es que usan uno de luminancia y uno TÉRMICO (si mi diccionario de sinónimos no ha cambiado creo que son diferentes).
Si fuese tan sencillo como “poner” uno o “poner” dos creo que ya lo hubiéramos hecho todos, incluso tú. Debes tener en cuenta que no es solo decir “pongo una cosa acá y pongo esta allá”, detrás de eso hay muchas otras cosas como funcionalidad, forma de operación, integración, interfaces, etc.
NADIE puede hacer un “dibujito” con un par de componentes, enviarlo a la oficina de patentes y Voilá, de llenas de dinero.
Pues eso es lo que hace crApple, solicitar patentes por cualquier bobada… por eso le negaron el pinch-to-zoom
No es molestia porque directamente no me afecta lo que Apple patente o si lo hace otra empresa como Samsung o Nokia. Me refiero a que se ha visto que cuando una tecnología no se patenta se presta a que otros la mejoren y mas adelante otros mas. Qué pasaría si Apple (u otro fabricante) no pudiera usar las pantallas táctiles porque estuvieran patentadas? No conoceriamos la tecnología como la conocemos hoy en día
Nadie regala su trabajo.
Pues Unix entregó el esquema para hacer sistemas operativos compatibles y dale gracias porque de ahi nació Linux y macos
Que yo sepa el proyecto GNU nació porque Unix tenía muchas cosas reservadas.
Pero La single Unix specification fue usada en Linux sin pagar un duro, entonces ves como se puede beneficiar la tecnología por los que copian.
Ojo, GNU/Linux y Minix no están certificados en SUS.
De acuerdo pero no excluye mi conclusión
y dele con las patentes
Ese es el resultado de la vigilancia tecnológica y el ejercicio creativo. No veo por qué la molestia.
Por esta Ves comparto su opinión, aPpLe esta en todo su Derecho de Proteger la Tecnología que Desarrolla, solicitar la Patente es lo mas lógico y Responsable.
Según el artículo, es una tecnología como la que existe en las cámaras de seguridad, crApple no desarrolló nada.
Seguro usted es un ingeniero lider de proyectos de R&D para saber que Apple hizo copy paste y ya, cierto? Me parten de la risa estos usuarios que se las dan de gurús, Eso es como comparar el tocino con un filet mignon y decir que son lo mismo porque vienen del cerdoy que el cocinero no hizo nada.
No, yo solo me basé en lo que dice el artículo.
Pero es que no sabes leer!!!!, tu fanatismo te lleva a atacar por que si, y no te tomas siquiera el tiempo de analizar lo que lees y escribes.
Si usted lo dice
No lo digo yo. Vuelva a leer mi comentario: «Según el artículo»…
el articulo dice “Este sistema es muy similar al de las cámaras
de seguridad, que
utilizan dos sensores de captura (uno térmico y otro de luminancia).”.
lo que se entiende es que una camara de seguridad emplea un sensor de
luminancia y otro termico. Lo que applie patenta es ” un
sistema de tres sensores divididos en dos categorías: un sensor de
luminancia (de la luz que captura) y dos sensores cromáticos (para el
color de la imagen)”. Si desea puede usar un software para comparar
texto, y darse cuenta de que no estan patentando algo ya inventado. Si alguien hace un desarrollo sobre una pantalla, esta haciendo algo nuevo, no tendria sentido decir “las pantallas ya existen” no desarrollaron nada.
Similar NO es igual, si ves las cámaras usan un sensor térmico y uno de luminancia. Apple patenta el uso de 3 sensores, una de luminancia y DOS cromáticos, no veo en que se te parecen DOS sensores cromáticos a UNO térmico.
Ah ya entiendo… entonces poner dos sensores cromáticos en lugar de uno es innovación… vea pues.
En que parte del articulo ves que las cámaras de seguridad usen UNO CROMÁTICO?, lo que yo leí es que usan uno de luminancia y uno TÉRMICO (si mi diccionario de sinónimos no ha cambiado creo que son diferentes).
Si fuese tan sencillo como “poner” uno o “poner” dos creo que ya lo hubiéramos hecho todos, incluso tú. Debes tener en cuenta que no es solo decir “pongo una cosa acá y pongo esta allá”, detrás de eso hay muchas otras cosas como funcionalidad, forma de operación, integración, interfaces, etc.
NADIE puede hacer un “dibujito” con un par de componentes, enviarlo a la oficina de patentes y Voilá, de llenas de dinero.
Pues eso es lo que hace crApple, solicitar patentes por cualquier bobada… por eso le negaron el pinch-to-zoom
No es molestia porque directamente no me afecta lo que Apple patente o si lo hace otra empresa como Samsung o Nokia. Me refiero a que se ha visto que cuando una tecnología no se patenta se presta a que otros la mejoren y mas adelante otros mas. Qué pasaría si Apple (u otro fabricante) no pudiera usar las pantallas táctiles porque estuvieran patentadas? No conoceriamos la tecnología como la conocemos hoy en día
Nadie regala su trabajo.
Pues Unix entregó el esquema para hacer sistemas operativos compatibles y dale gracias porque de ahi nació Linux y macos
Que yo sepa el proyecto GNU nació porque Unix tenía muchas cosas reservadas.
Pero La single Unix specification fue usada en Linux sin pagar un duro, entonces ves como se puede beneficiar la tecnología por los que copian.
Ojo, GNU/Linux y Minix no están certificados en SUS.
De acuerdo pero no excluye mi conclusión
Y que se tengan los fabricantes de celulares con cámara, porque se vienen las demandas de crApple…
Lo bueno es que tú las puedes defender, con lo obsesionado que andas.
Nah, para eso tienen abogados 😉
Buena evasiva.
Gracias 🙂
Y que se tengan los fabricantes de celulares con cámara, porque se vienen las demandas de crApple…
Lo bueno es que tú las puedes defender, con lo obsesionado que andas.
Nah, para eso tienen abogados 😉
Buena evasiva.
Gracias 🙂
Bien por Apple, porque eso es lo que les hace falta: innovar y aplicar. Si logran hacer una cámara fotográfica con capacidades de avanzada y a la vez aplicarle la estética que siempre acompaña a sus productos (porque eso sí se debe aceptar, los equipos de Apple son muy bonitos), lograrán un objetivo importante.
Lo que hizo crApple fue patentar para celulares la tecnología ya existente en las cámaras de seguridad. Eso no es innovación.
PAto
Similar NO es igual, si ves las cámaras usan un sensor térmico y uno de luminancia apple patenta el uso de 3 sensores, una de luminancia y DOS cromáticos, no veo en que se te parecen DOS sensores cromáticos a UNO térmico??.
Bien por Apple, porque eso es lo que les hace falta: innovar y aplicar. Si logran hacer una cámara fotográfica con capacidades de avanzada y a la vez aplicarle la estética que siempre acompaña a sus productos (porque eso sí se debe aceptar, los equipos de Apple son muy bonitos), lograrán un objetivo importante.
Lo que hizo crApple fue patentar para celulares una tecnología como la existente en las cámaras de seguridad. Eso no es innovación.
PAto
Similar NO es igual, si ves las cámaras usan un sensor térmico y uno de luminancia apple patenta el uso de 3 sensores, una de luminancia y DOS cromáticos, no veo en que se te parecen DOS sensores cromáticos a UNO térmico??.
Buen trabajo, pero lo veo poco útil por ahora. ..
Buen trabajo, pero lo veo poco útil por ahora. ..
En los Smartphones este es uno de los aspectos en el que falta mucho por mejorar (que se dejen de tratar de engañar metiendo más megapixeles que no sirven para nada). Cuando mejoren esto, las baterías (que duren al menos 2 dias de uso completo) y el tamaño de almacenanmiento interno (es ridículo que apple siga sacando dispositivos con 16 gigas, y aún mas ridículo que cobre 100 dólares mas por aumentarle el tamaño a 32 gigas…) entonces podremos hablar de dispositivos realmente buenos.
2 días¿ ni una laptop dura dos Dias seguidas
Si, por eso digo que hay que mejorar en ese aspecto…
También hay que viajar en el tiempo, pero…
Por supuesto, pero primero hay que mejorar las baterias.
Lo que digo es que aún no existe la tecnología para ninguna de las dos cosas (que yo sepa), si aún no existen baterías que duren más de 1 día de uso a full es por algo.
Si yo digo que ese es uno de los aspectos a mejorar es por algo.
En los Smartphones este es uno de los aspectos en el que falta mucho por mejorar (que se dejen de tratar de engañar metiendo más megapixeles que no sirven para nada). Cuando mejoren esto, las baterías (que duren al menos 2 dias de uso completo) y el tamaño de almacenanmiento interno (es ridículo que apple siga sacando dispositivos con 16 gigas, y aún mas ridículo que cobre 100 dólares mas por aumentarle el tamaño a 32 gigas…) entonces podremos hablar de dispositivos realmente buenos.
2 días¿ ni una laptop dura dos Dias seguidas
Si, por eso digo que hay que mejorar en ese aspecto…
También hay que viajar en el tiempo, pero…
Por supuesto, pero primero hay que mejorar las baterias.
Lo que digo es que aún no existe la tecnología para ninguna de las dos cosas (que yo sepa), si aún no existen baterías que duren más de 1 día de uso a full es por algo.
Si yo digo que ese es uno de los aspectos a mejorar es por algo.
Por cierto, en enter deben mejorar la compatibilidad del sitio con Safari. Este es un sitio de tecnología, y hablan a cada rato de Apple, así que se supone que si un usuario trata de hacer algo tan simple como editar un comentario grande desde un iPad esto no debería ser todo un suplicio para el usuario… Traten de hacerlo por favor y verán a que me refiero…
Los comentarios son a base del sistema de Disqus, no hay mucho que se pueda hacer…
Que iOS estas usando? A mi no me pone problema para nada editar un comentario (acabo de hacer la prueba jaja )
Es con textos grandes, es muy incomodo pasar hacia abajo o arriba para ubicarse sobre una palabra exacta. Uso la última versión del 6.
¿Eso le pasa con el texto del sitio o con el de los comentarios?
Es cuando voy a editar un comentario que he escrito anteriormente.
Baja de cydia SwipeSelection!!
Es muy util
Los problemillas de usar crApple
jajajajajajajja +1 a eso le llaman ellos “Experiencia de Usuario”
Y no son amargados, no.
Qué raro. Ni en Mac OS ni en iOS he tenido problemas con Safari y este sitio.
Ni idea, ni con OS X ni con iOS he tenido problemas.
Por cierto, en enter deben mejorar la compatibilidad del sitio con Safari. Este es un sitio de tecnología, y hablan a cada rato de Apple, así que se supone que si un usuario trata de hacer algo tan simple como editar un comentario grande desde un iPad esto no debería ser todo un suplicio para el usuario… Traten de hacerlo por favor y verán a que me refiero…
Los comentarios son a base del sistema de Disqus, no hay mucho que se pueda hacer…
Que iOS estas usando? A mi no me pone problema para nada editar un comentario (acabo de hacer la prueba jaja )
Es con textos grandes, es muy incomodo pasar hacia abajo o arriba para ubicarse sobre una palabra exacta. Uso la última versión del 6.
¿Eso le pasa con el texto del sitio o con el de los comentarios?
Es cuando voy a editar un comentario que he escrito anteriormente.
Baja de cydia SwipeSelection!!
Es muy util
Los problemillas de usar crApple
jajajajajajajja +1 a eso le llaman ellos “Experiencia de Usuario”
Y no son amargados, no.
Qué raro. Ni en Mac OS ni en iOS he tenido problemas con Safari y este sitio.
Ni idea, ni con OS X ni con iOS he tenido problemas.
No puedo decir que tan innovadora sea la idea los que si es cierto es
que Apple quiere patentar cualquier modificación que realiza, muchas de
ellas que ya existen en otros equipos, esto al final no beneficia a los
usuarios por el contrario estamos llegando a un punto en que cualquier
cambio que realicen los demás fabricantes en sus equipos tendrá una
demanda por alguna de las cientos de patentes que ya tienen, esto es
como si alguien hubiera patentado la rueda. Con estas demandas
millonarias estará intentando compensar las pocas ganancias que ha
tenido recientemente. En poco tiempo las ganancias por demandas serán
mayor a las de las ventas y contratara abogados en lugar de ingenieros…
“esto es como si alguien hubiera patentado la rueda.” Siempre con el mismo ejemplo, que falta de imaginación… Y ya que lo critica, ¿qué sugiere para proteger la propiedad intelectual de la empresas? Gasto un montón de recursos en investigación, en pruebas, en empleados, en materiales… Para lanzarlo al mercado ¿Y que otra empresa lo copie? No sé a usted, pero a mi me no me parece el mejor modelo de negocio.
nuevo no es, las camaras de seguridad lo tienen como dice arriba.
sera q ellos demandaran a apple por usar similar tecnologia?
Similar NO es igual, si ves las cámaras usan un sensor térmico y uno de luminancia apple patenta el uso de 3 sensores, una de luminancia y DOS cromáticos, no veo en que se te parecen DOS sensores cromáticos a UNO térmico.
No puedo decir que tan innovadora sea la idea los que si es cierto es
que Apple quiere patentar cualquier modificación que realiza, muchas de
ellas que ya existen en otros equipos, esto al final no beneficia a los
usuarios por el contrario estamos llegando a un punto en que cualquier
cambio que realicen los demás fabricantes en sus equipos tendrá una
demanda por alguna de las cientos de patentes que ya tienen, esto es
como si alguien hubiera patentado la rueda. Con estas demandas
millonarias estará intentando compensar las pocas ganancias que ha
tenido recientemente. En poco tiempo las ganancias por demandas serán
mayor a las de las ventas y contratara abogados en lugar de ingenieros…
“esto es como si alguien hubiera patentado la rueda.” Siempre con el mismo ejemplo, que falta de imaginación… Y ya que lo critica, ¿qué sugiere para proteger la propiedad intelectual de la empresas? Gasto un montón de recursos en investigación, en pruebas, en empleados, en materiales… Para lanzarlo al mercado ¿Y que otra empresa lo copie? No sé a usted, pero a mi me no me parece el mejor modelo de negocio.
nuevo no es, las camaras de seguridad lo tienen como dice arriba.
sera q ellos demandaran a apple por usar similar tecnologia?
Similar NO es igual, si ves las cámaras usan un sensor térmico y uno de luminancia apple patenta el uso de 3 sensores, una de luminancia y DOS cromáticos, no veo en que se te parecen DOS sensores cromáticos a UNO térmico.
Desarrollan algo con sus recursos y lo patentan. Lo más normal.
Desarrollan algo con sus recursos y lo patentan. Lo más normal.
Al menos ya les quitaron la patente del Zoom con los dedos….
Al menos ya les quitaron la patente del Zoom con los dedos….
Algo importante que se debería comentar es que esas diferencias para captar la luz también da oportunidades para usar el celular de otra manera. A que me refiero? La famosa cámara de rayos X. Al ser capaz de captar el espectro de iluminación con mayor facilidad, también se prestara para que en futuros lanzamientos algunos desarrolladores independientes aprovechen estas actualizaciones para crear aplicaciones peculiares.
Algo importante que se debería comentar es que esas diferencias para captar la luz también da oportunidades para usar el celular de otra manera. A que me refiero? La famosa cámara de rayos X. Al ser capaz de captar el espectro de iluminación con mayor facilidad, también se prestara para que en futuros lanzamientos algunos desarrolladores independientes aprovechen estas actualizaciones para crear aplicaciones peculiares.
Wow!!!…Y próximamente patentaran los enchufes donde se pueda llegar a cargar un dispositivo móvil!!!
Si se inventan uno diferente pueden hacerlo, como cada compañía patenta sus cargadores.
No hablo del “cargador”, hablo de los “enchufes” donde se conectan estos (o por lo menos hasta que invente uno solar)
Exactamente!!!!, si se “inventan” un tipo de “enchufes” que funcione de forma diferente, pueden (Deben) patentarlo. (Lo de los cargadores, es una comparación, de hecho YA los tienen patentados)
Sabe que me equivoque yo me estaba refiriendo a la “Toma Corriente” (Yo y quizás mas personas le decimos a la toma corriente “Enchufe”), pero es cierto lo que dice de acuerdo a como piensa Apple, es de reconocer que Apple patenta hasta la forma como… Buen Dia!
Todos lo hacen y si eres dueño o creador de un producto lo harías.
Si. pero Apple pantenta ideas donde ellos no han sido los creadores.
Wow!!!…Y próximamente patentaran los enchufes donde se pueda llegar a cargar un dispositivo móvil!!!
Si se inventan uno diferente pueden hacerlo, como cada compañía patenta sus cargadores.
No hablo del “cargador”, hablo de los “enchufes” donde se conectan estos (o por lo menos hasta que invente uno solar)
Exactamente!!!!, si se “inventan” un tipo de “enchufes” que funcione de forma diferente, pueden (Deben) patentarlo. (Lo de los cargadores, es una comparación, de hecho YA los tienen patentados)
Sabe que me equivoque yo me estaba refiriendo a la “Toma Corriente” (Yo y quizás mas personas le decimos a la toma corriente “Enchufe”), pero es cierto lo que dice de acuerdo a como piensa Apple, es de reconocer que Apple patenta hasta la forma como… Buen Dia!
Todos lo hacen y si eres dueño o creador de un producto lo harías.
Si. pero Apple pantenta ideas donde ellos no han sido los creadores.
si ya patentaron un rectangulo con esquinas curvas, estos dioses pueden patentarlo todo, de seguro un dia, al ver la cantidad de emisiones q generan mientras fabrican sus teléfonos, van a decidir patentar el aire y cobrarnos a todos por el uso indebido de su patente!
si ya patentaron un rectangulo con esquinas curvas, estos dioses pueden patentarlo todo, de seguro un dia, al ver la cantidad de emisiones q generan mientras fabrican sus teléfonos, van a decidir patentar el aire y cobrarnos a todos por el uso indebido de su patente!
eso si es un patente de verdad.. primera patente de verdad de apple
eso si es un patente de verdad.. primera patente de verdad de apple
Toca patentarlo porque para eso hay muchas personas TRABAJANDO DE VERDAD detrás de ésto por insignificante que parezca para que luego todos vengan a copiar de lo mejor…por pequeño o grande que sea debe patentarse porque hasta lo mas bobo quieren copiar de Apple, me parece bien, que cada cual “trabaje” por sus propias cosas hasta por el simple diseño de un cargador debe ser original no copia
Toca patentarlo porque para eso hay muchas personas TRABAJANDO DE VERDAD detrás de ésto por insignificante que parezca para que luego todos vengan a copiar de lo mejor…por pequeño o grande que sea debe patentarse porque hasta lo mas bobo quieren copiar de Apple, me parece bien, que cada cual “trabaje” por sus propias cosas hasta por el simple diseño de un cargador debe ser original no copia
por fin una patente que si parece patente, ojala cuando la utilicen en sus celulares (que lo veo lejos) aun sea innovacion. Porque la verdad en cuanto a camaras para celulares, nokia tiene el toro por los cuernos
por fin una patente que si parece patente, ojala cuando la utilicen en sus celulares (que lo veo lejos) aun sea innovacion. Porque la verdad en cuanto a camaras para celulares, nokia tiene el toro por los cuernos