BlackBerry patenta una nueva funda

Así posiblemente será el nuevo accesorio para BlackBerry.
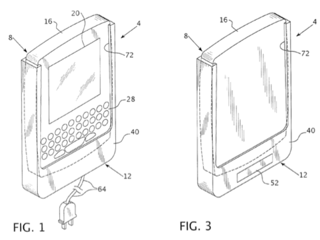
El nuevo accesorio permite recargas la batería del telefono y al mismo tiempo tiene un sistema de notificaciones para darle más comodidad al usuario.
Así posiblemente será el nuevo accesorio para BlackBerry.

RIM puede estar pasando por un momento difícil, pero la organización no ha dejado hacer un verdadero esfuerzo para seguir innovando. En los últimos dos meses hemos reportado cuatro –teclado para dedos gordosnuevos tecladosvolumen de forma automática y baterías con celulas de combustible– diferentes patentes para los teléfonos BlackBerry. Concretamente, la compañía de Waterloo ha enfocado su investigación en los teclados y en diferentes sistemas para la batería del teléfono.

La más reciente patente de RIM tiene que ver con este último aspecto. Según Engadget, la nueva idea de la compañía es un accesorio que recarga la pila del dispositivo. Pero, obviamente, eso ya existe. Lo innovador del estuche, que cubre todo el teléfono, es que se puede conectar con el BlackBerry y “darle notificaciones al usuario por medio de un parlante”, según la Oficina de Patentes de Estados Unidos. Así, el usuario no tendrá que sacar su teléfono de la funda para saber si tiene un mensaje o una llamada.

Faltaría ver si esta nuevo sistema estaría en capacidad de interactuar con una de las nuevas formas que RIM tiene en mente para cargar sus celulares: las células de combustible. Aunque los dos esfuerzos no son necesariamente excluyentes, sería interesante ver como las fundas afecta las posibles células de combustible. 

Mateo Santos

En vez de un tetero, nací con un Mac Classic en mi cuarto. Esa caja con pantalla en blanco y negro fue mi primera niñera. Por ahí, también rondaba un balón de fútbol y una camiseta de Millonarios. Desde ese día, sabía que la tecnología y el fútbol iban a ser mi estrella de Belén. El primer juego que tuve en mis manos fue Dark Castle, también en un Macintosh. No me gusta la música. Soy un amante escéptico de la tecnología. Hago parte del proyecto de ENTER.CO para llenar el vacío en información de tecnología que hay en América Latina, o como dirían los enterados, en LATAM. Me gradué de Administración de Empresas en los Andes y después hice una maestría en periodismo en la Universidad Europea de Madrid.

View all posts

6 comments

Archivos