A través de The Hollywood Reporter conocimos los nuevos planes de Lionsgate, –la productora de series como ‘Orange is the New Black’, ‘Nurse Jackie’ o ‘Mad Men’– de...
Eso no es todo. ¡Hay más para tí!
Antes de que salgan corriendo como locos a decir que la trama de Gravity se hizo realidad, tienen que saber que no es la primera vez que la Estación Espacial...
No ha sido una semana fácil para The Pirate Bay, pues en lo que parece el juego del gato y el ratón más grande de la historia de internet, la página se acaba de mudar a...
Las empresas de tecnología de Estados Unidos se han visto realmente afectadas por todo el debate alrededor de las prácticas de la NSA. Por eso, empresas como Google...
Kickstarter reveló sus cifras de este año en las que se evidencia el éxito -y el fracaso, en algunos casos- de los proyectos que buscaron dinero por medio de la...
A partir de mañana será posible comprar –o por lo menos ordenar– el nuevo Mac Pro, que originalmente mostraron en el WWDC. Durante ese evento Tim Cook solo mostró el...
Las empresas medianas se ven enfrentadas a una difícil situación. A medida que van creciendo, sus necesidades de Internet van aumentando. La productividad empieza a...
En 2013 vimos cómo se expandió la familia de Chromebooks. Primero con el Pixel, un hermoso ‘laptop’ con pantalla superfina orientado a la gama alta, y luego...
Los negocios ya se están dando cuenta de la necesidad de recoger la mayor cantidad de datos posibles. Entre más información tenga un negocio, se podrán tomar mejores...
Fue en 2011 cuando el director Rupert Wyatt presentó una nueva historia basada en la famosa película de 1968 ‘El planeta de los simios’, que a la vez está basada en la...
Messi, Falcao, Ronaldo, Kerzhakov, Donovan, Rooney o Casillas son algunos de los jugadores que forman parte de la nueva campaña publicitaria de Samsung. The Galaxy 11...
En poco más de un año, los colombianos nos llenamos de opciones para ir del punto ‘a’ al punto ‘b’. Y gracias a eso, nuestra vida en la ciudad es...
Después de haber presentado Chevystar MyLink, es hora de conocer en qué modelos de Chevrolet estará disponible esta plataforma que le dará una nueva experiencia al...
Hoy, Nintendo llevó a cabo el que probablemente será el último Direct de este año, y dejó ver sus planes para los primeros meses de 2014. Y aunque hubo varios anuncios...
Después de muchas noticias alrededor de LucasArts, cerrado por Disney, nos enteramos de que la compañía sacaría un nuevo juego de Star Wars. Se llamará ‘Attack...
A casi un año para que ‘Interstellar’, la próxima película de Christopher Nolan, haga su aparición en el mercado, Paramount y Warner Bros presentaron a través del canal...
El gigante de internet quiso cerrar 2013 con una actualización masiva de varias funciones en su dispositivo estrella, Google Glass. El anuncio lo hizo a través de un...
Al final de año, IBM publica cinco tendencias que tendrán un impacto gran impacto en cinco años. En esta ocasión, IBM asegura que las máquinas -sean smartphones...
Desde que Steve Ballmer protagonizó una de las noticias más impactantes del año al confirmar su retiro como CEO de Microsoft hace más de cuatro meses, muchos rumores han...
Colombia sigue en su misión de tener más conexiones a internet. Según un estudio de Cisco elaborado por IDC, las conexiones móviles y fijas en el país llegaron a 5,5...
Hace unos meses, Nueva York informó sobre su nueva red de Wi-Fi pública de alta velocidad para conectar a los empresarios en diferentes zonas de la ciudad. En Manhattan...
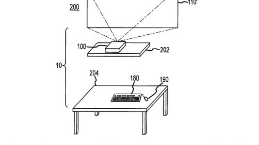
Al parecer, Apple piensa que los monitores son muy ‘mainstream’ y por eso quiere llevar la experiencia a otro nivel. Una nueva patente, otorgada hoy...
Mucho antes de Angelina Jolie, existió un Tomb Raider que nos impresionaba. El primer juego con el que la serie se hizo un respetado nombre en la industria de los...
Como tradición anual, Apple seleccionó las mejores aplicaciones de su tienda. El listado ofrece un resumen detallado de lo mejor y lo más vendido y descargado en...
A partir de hoy, algunos usuarios de Facebook podrán encontrarse con pauta en los videos que se reproducirá automáticamente tanto en móviles como en la versión web...
Uno de los planes de vigilancia más famosos y controvertidos de la NSA es el de reunir la información de los teléfonos de los usuarios de Estados Unidos. Richard Leon...
Al igual que todos los servicios en fin de año, Google quiso compartir con los usuarios las búsquedas más populares de su buscador durante 2013. El listado, que lleva...
Ford presentó recientemente un prototipo de un Fusion híbrido que puede conducirse solo. Según indicó Wired, el fabricante de automóviles estadounidense se unió a la...
Llegará un punto en el cual todas las plataformas móviles tendrán más o menos las mismas funciones. Hoy en día no hay mucha diferencia entre los sistemas operativos para...
A través del blog oficial de Instagram, la red social hizo una selección de algunas de las fotos más importantes de 2013. Las imágenes seleccionadas de las cuentas de...